PS5: Sony brevetta la condivisione del controller

Sony in quest’ultimo periodo ha brevettato diverse idee che potrebbero essere utilizzate su PS5. Dopo le…

Sony brevetta un controller retrogaming per PS5

Nel corso degli ultimi mesi abbiamo assistito alla registrazione di molteplici brevetti depositati da Sony, legati…

PS5: Sony brevetta il Dual Shock 5 con proiettore integrato?

Il ciclo vitale di PS4 sta volgendo al termine, con ottime probabilità nel 2019 vedremo la…

FIFA 18: Confermata la presenza del Momentum con un brevetto

In data odierna, è trapelata sulla rete, l’esistenza in FIFA 18, di un brevetto chiamato “adeguamenti…

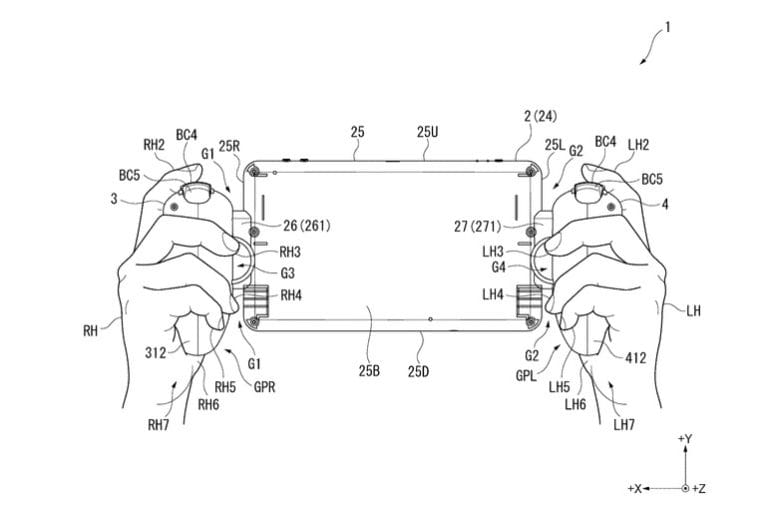
Sony brevetta una console portatile simile alla Nintendo Switch

Dopo il Flop della PSVITA (ci dispiace ammetterlo ma purtroppo è cosi), Sony ha deciso di…

USA : Microsoft deposita un brevetto sulla polvere da sparo!

Non è uno scherzo, non è un pesce d’aprile anche perchè siamo a Gennaio, pare che…

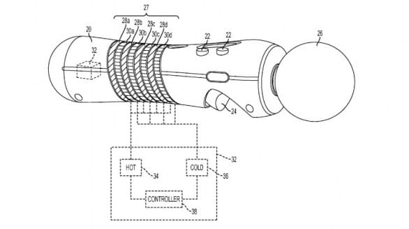
Sony registra un nuovo brevetto : Il move riscaldabile!

L'ultima trovata di Sony dopo il gelato (move), è il Move riscaldabile, che potete vedere in…

Nuovo brevetto da Sony per la NGP

BYTE Unplugged ha svelato al pubblico un nuovo brevetto registrato da Sony che riguarda una dock…