Sony brevetta il Giocatore Fantasma: l’IA potrebbe intervenire direttamente nel gameplay

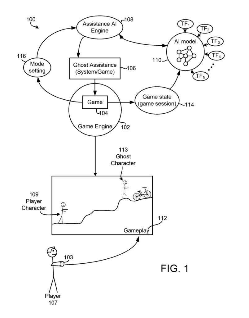
Sony ha registrato un nuovo brevetto sull’intelligenza artificiale che delinea una funzione capace di superare automaticamente porzioni di gioco quando il giocatore resta bloccato. La tecnologia, denominata Giocatore Fantasma, viene descritta come un’opzione facoltativa pensata per aiutare l’utente a oltrepassare enigmi o sezioni particolarmente ostiche senza interrompere il flusso dell’esperienza.

Il brevetto, depositato da Sony nel settembre 2024, è tornato sotto i riflettori dopo la recente pubblicazione del rapporto di stato internazionale da parte della World Intellectual Property Organization, che ha reso noti nuovi dettagli sul funzionamento del sistema.

Alla base del Giocatore Fantasma c’è la creazione di una controparte controllata dall’IA del personaggio del giocatore, attivabile su richiesta. I documenti indicano due modalità operative distinte. La Guide Mode permette all’IA di mostrare visivamente la soluzione, fungendo da dimostrazione pratica. La Complete Mode, invece, consente all’intelligenza artificiale di completare direttamente la sezione di gioco al posto dell’utente.

Tra gli esempi riportati figura un caso ambientato in Uncharted: qualora un giocatore si bloccasse davanti a un puzzle, il sistema potrebbe far apparire un Nathan Drake guidato dall’IA che esegue correttamente la soluzione. A quel punto, il giocatore avrebbe la possibilità di ripeterla in prima persona oppure di saltare completamente quella parte.

Un elemento chiave del brevetto riguarda l’assenza di script prefissati. Il Giocatore Fantasma non si baserebbe su sequenze programmate dagli sviluppatori, ma su modelli di IA addestrati tramite filmati di gameplay reali, capaci di apprendere strategie, comportamenti e stili di gioco differenti. Questo approccio consentirebbe un’assistenza più dinamica e personalizzata, adattata alle abitudini del singolo utente.

La tecnologia può essere vista come un’evoluzione del Game Help introdotto con PlayStation 5, sistema che offre suggerimenti sotto forma di immagini o video consultabili direttamente durante la partita. Sebbene non sia stato adottato in modo massiccio, Game Help è stato apprezzato soprattutto da chi punta al completamento dei trofei, grazie alla possibilità di evitare guide esterne.

Il tema dell’assistenza nei giochi Sony, tuttavia, è già stato oggetto di critiche. Titoli come God of War Ragnarök sono stati accusati da parte della community di fornire suggerimenti troppo rapidi tramite i personaggi non giocanti, riducendo il senso di scoperta. L’introduzione di un sistema come il Giocatore Fantasma potrebbe quindi riaprire il dibattito tra accessibilità e sfida.

È importante sottolineare che non esistono conferme ufficiali sull’effettiva implementazione di questa tecnologia in futuri giochi o hardware. Come spesso accade, Sony deposita numerosi brevetti che restano allo stadio concettuale e non sempre trovano applicazione pratica.

Nel quadro più ampio, però, il ruolo dell’IA nei videogiochi continua a crescere. Nel 2025 Microsoft ha presentato Copilot for Gaming, un assistente pensato per supportare i giocatori meno esperti con suggerimenti contestuali, installazioni su richiesta e riepiloghi delle sessioni precedenti in titoli come Minecraft e Age of Empires IV.

Il Giocatore Fantasma si inserisce quindi in una tendenza chiara: l’idea che l’intelligenza artificiale possa diventare un compagno attivo dell’esperienza videoludica, capace non solo di consigliare, ma anche di intervenire direttamente nel gameplay quando il giocatore lo ritiene necessario.