Survival Machine Recensione: Il survival game che non conosce sosta

Recensione e Gameplay per Survival Machine

Survival Machine Recensione: Il survival game che non conosce sosta

Survival Machine è un videogioco che riesce a distinguersi nel panorama affollato dei survival game grazie…

Recensione e Gameplay per Grandma, No!

Grandma, No! Recensione: Una nonna scatenata distrugge la noia con il caos più spassoso

Grandma, No! è un videogioco che porta l’assurdo a un nuovo livello, trasformando la quotidianità domestica…

Recensione e Gameplay per Spilled

Spilled Recensione: Depurare gli oceani nel nuovo Indie di Lente

Spilled! è uno di quei giochi che arrivano in silenzio, ma lasciano un’eco profonda. Sviluppato dall’indie…

Annunciata la Remastered di Syberia

Syberia Remastered: il ritorno di un capolavoro senza tempo in una veste completamente rinnovata

A più di vent’anni dalla sua uscita originale, Syberia si prepara a vivere una nuova giovinezza.…

Annunciata la prima Operazione per Rainbow Six Siege

Rainbow Six Siege: Gameplay dell’Operazione Daybreak

Con le semifinali di RE:L0:AD ormai alle porte e la scena competitiva di Rainbow Six Siege…

Quali strumenti potenziare in Palia

Palia: Guida al potenziamento degli strumenti

In Palia, rilassante MMO ambientato in un mondo colorato e ricco di attività quotidiane, ogni strumento…

Switch 2 ha funzioni innovative

Nintendo Switch 2 punta sul multiplayer smart: Tutte le novità

Con l’arrivo ufficiale fissato al 5 giugno 2025, la Nintendo Switch 2 non si limita a…

Guida per livellare le amicizie in Palia

Palia: Guida al sistema di Amicizia e relazioni tra personaggi

In Palia, costruire relazioni è molto più di un semplice contorno alla vita da contadino o…

Fortnite accoglie il primo personaggio controllato dall'IA

Fortnite: Arriva Darth Vader controllato dall’intelligenza artificiale

Epic Games ha lanciato una delle funzionalità più rivoluzionarie mai viste in Fortnite: il leggendario Darth…

Giochi Swiitch 2 di Nintendo su cartuccia

Nintendo Switch 2: i giochi first-party restano su cartuccia

Con l’imminente lancio di Nintendo Switch 2, cresce la curiosità attorno alle Game-Key Card, il nuovo…

Recensione e Gameplay per The Precinct

The Precinct Recensione: Il GTA dal punto di vista della polizia

The Precinct non è il classico sandbox criminale a cui il videogiocatore moderno è abituato. Qui,…

Guida al mercato nero di Palia

Guida a Palia: Come sbloccare e visitare il mercato nero di Zeki

In Palia, non tutto è ciò che sembra. Dietro il sorriso affabile di Zeki, il gestore…

Annunciato il sequel di Ghost of Tsushima

Ghost of Yōtei: Le origini del gioco e la fonte di ispirazione

Lo sviluppo di Ghost of Yōtei non è stato solo una questione di game design e…

Nuova console portatile da Sony

Sony prepara una nuova PlayStation portatile

Secondo quanto trapelato da un affidabile insider hardware Xbox attivo su NeoGAF, Sony starebbe lavorando a…

Recensione e Gameplay per Rift of the NecroDancer

Rift of the NecroDancer Recensione: Da Roguelike a gioco musicale

Rift of the NecroDancer rappresenta un audace passo avanti per Brace Yourself Games, che decide di…

Switch 2 è riprogettata da zero

Switch 2 vs Switch 1: Cosa cambia? Le specifiche a confronto

Con la recente analisi tecnica di Digital Foundry, vengono finalmente confermati i dettagli dell’hardware definitivo di…

Come affrontare i combattimenti in Doom The Dark Ages

Doom The Dark Ages: Tutto quello che c’è da sapere prima di giocare

Nonostante l’anima brutale e frenetica di Doom: The Dark Ages, l’esplorazione gioca un ruolo altrettanto importante…

Avvistato un bambino in GTA 6

GTA 6: Il misterioso bambino di Grassrivers

Un singolo screenshot trapelato da Grand Theft Auto 6, ambientato nella zona di Grassrivers, ha acceso…

Recensione e Gameplay per The Hundred Line Last Defense Academy

The Hundred Line Last Defense Academy Recensione: Una scuola alternativa

The Hundred Line: Last Defense Academy ci catapulta nei panni di Takumi Sumino, studente normale trascinato…

Guida per sbloccare una Skin di DOOM The Dark Ages

DOOM The Dark Ages: Come sbloccare una SKIN GRATIS

Se non hai acquistato edizioni speciali né effettuato il preorder di DOOM The Dark Ages, ma…

Svelato nome e Gameplay del prototipo di Clair Obscur Expedition 33

Clair Obscur Expedition 33: Svelato il prototipo We Lost

Un nuovo filmato comparso online ha catturato l’attenzione della community videoludica, rivelando per la prima volta…

Clair Obscur Expedition 33: Da zombie e cliché steampunk a capolavoro senza tempo

Clair Obscur Expedition 33 è ormai considerato uno dei videogiochi più affascinanti e significativi del 2025.…

Guida completa per giocare a Marvel Rivals

Marvel Rivals rilancia il Pass Stagione 0: tra nostalgia e nuove regole, cosa cambia davvero

Siamo entrati nel cuore della Stagione 2 di Marvel Rivals, e il panorama degli sparatutto online…

Stellar Blade annunciato per PC

Stellar Blade arriva su PC con tante novità

Svelato con qualche ora di anticipo da un trailer caricato per errore sul canale YouTube di…

Nintendo Switch 2 non ha più segreti

Nintendo Switch 2 ha una funzione per preservare il deterioramento della batteria

Nintendo non ha ancora finito di sorprendere. Dopo aver già svelato moltissime caratteristiche della sua nuova…

Silver Palace annunciato per PC, Mobile e Console

Silver Palace: il nuovo action RPG open-world investigativo

Elementa e Silver Studio hanno svelato ufficialmente Silver Palace, un action RPG fantasy investigativo con ambientazione…

Come affrontare i combattimenti in Doom The Dark Ages

Doom The Dark Ages: Cose da sapere sul combattimento

Doom: The Dark Ages non è uno sparatutto qualsiasi. È un’arena di morte dove la strategia…

Quanto dura Death Stranding 2

Death Stranding 2 quanto dura? Ecco la risposta

L’avventura di Sam Porter Bridges in Death Stranding 2: On the Beach si preannuncia ancora più…

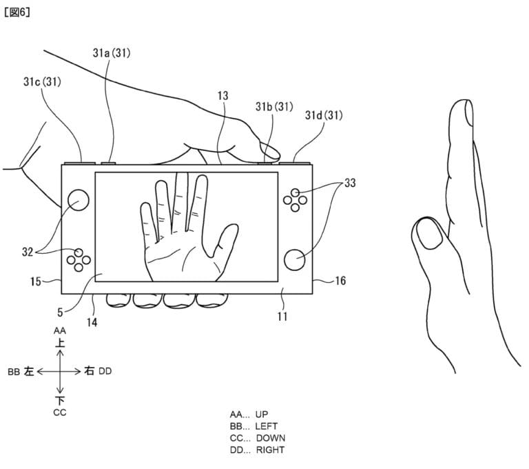
Nintendo brevetta una camera per Switch 2

Nintendo e la Fotocamera a Infrarossi: Un’Idea abbandonata per la Switch 2

Un nuovo brevetto recentemente pubblicato da Nintendo ha riacceso l’interesse su ciò che avrebbe potuto essere…

Guida per aprire le gabbie di pittura in Clair Obscur Expedition 33

Clair Obscur Expedition 33: Come sblooccare le Gabbie di Pittura

In Clair Obscur: Expedition 33, le Gabbie di Pittura rappresentano una delle sfide più intriganti e…