Rift of the NecroDancer Recensione: Da Roguelike a gioco musicale

Recensione e Gameplay per Rift of the NecroDancer

Rift of the NecroDancer Recensione: Da Roguelike a gioco musicale

Rift of the NecroDancer rappresenta un audace passo avanti per Brace Yourself Games, che decide di…

Switch 2 è riprogettata da zero

Switch 2 vs Switch 1: Cosa cambia? Le specifiche a confronto

Con la recente analisi tecnica di Digital Foundry, vengono finalmente confermati i dettagli dell’hardware definitivo di…

Come affrontare i combattimenti in Doom The Dark Ages

Doom The Dark Ages: Tutto quello che c’è da sapere prima di giocare

Nonostante l’anima brutale e frenetica di Doom: The Dark Ages, l’esplorazione gioca un ruolo altrettanto importante…

Avvistato un bambino in GTA 6

GTA 6: Il misterioso bambino di Grassrivers

Un singolo screenshot trapelato da Grand Theft Auto 6, ambientato nella zona di Grassrivers, ha acceso…

Recensione e Gameplay per The Hundred Line Last Defense Academy

The Hundred Line Last Defense Academy Recensione: Una scuola alternativa

The Hundred Line: Last Defense Academy ci catapulta nei panni di Takumi Sumino, studente normale trascinato…

Guida per sbloccare una Skin di DOOM The Dark Ages

DOOM The Dark Ages: Come sbloccare una SKIN GRATIS

Se non hai acquistato edizioni speciali né effettuato il preorder di DOOM The Dark Ages, ma…

Svelato nome e Gameplay del prototipo di Clair Obscur Expedition 33

Clair Obscur Expedition 33: Svelato il prototipo We Lost

Un nuovo filmato comparso online ha catturato l’attenzione della community videoludica, rivelando per la prima volta…

Clair Obscur Expedition 33: Da zombie e cliché steampunk a capolavoro senza tempo

Clair Obscur Expedition 33 è ormai considerato uno dei videogiochi più affascinanti e significativi del 2025.…

Guida completa per giocare a Marvel Rivals

Marvel Rivals rilancia il Pass Stagione 0: tra nostalgia e nuove regole, cosa cambia davvero

Siamo entrati nel cuore della Stagione 2 di Marvel Rivals, e il panorama degli sparatutto online…

Stellar Blade annunciato per PC

Stellar Blade arriva su PC con tante novità

Svelato con qualche ora di anticipo da un trailer caricato per errore sul canale YouTube di…

Nintendo Switch 2 non ha più segreti

Nintendo Switch 2 ha una funzione per preservare il deterioramento della batteria

Nintendo non ha ancora finito di sorprendere. Dopo aver già svelato moltissime caratteristiche della sua nuova…

Silver Palace annunciato per PC, Mobile e Console

Silver Palace: il nuovo action RPG open-world investigativo

Elementa e Silver Studio hanno svelato ufficialmente Silver Palace, un action RPG fantasy investigativo con ambientazione…

Come affrontare i combattimenti in Doom The Dark Ages

Doom The Dark Ages: Cose da sapere sul combattimento

Doom: The Dark Ages non è uno sparatutto qualsiasi. È un’arena di morte dove la strategia…

Quanto dura Death Stranding 2

Death Stranding 2 quanto dura? Ecco la risposta

L’avventura di Sam Porter Bridges in Death Stranding 2: On the Beach si preannuncia ancora più…

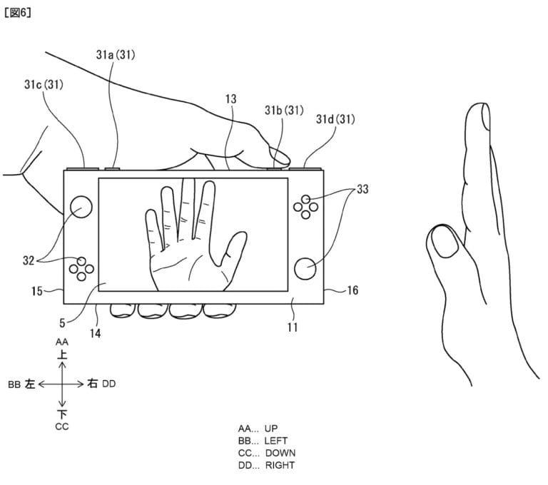
Nintendo brevetta una camera per Switch 2

Nintendo e la Fotocamera a Infrarossi: Un’Idea abbandonata per la Switch 2

Un nuovo brevetto recentemente pubblicato da Nintendo ha riacceso l’interesse su ciò che avrebbe potuto essere…

Guida per aprire le gabbie di pittura in Clair Obscur Expedition 33

Clair Obscur Expedition 33: Come sblooccare le Gabbie di Pittura

In Clair Obscur: Expedition 33, le Gabbie di Pittura rappresentano una delle sfide più intriganti e…

Recensione e Gameplay per Dinopunk

Dinopunk The Cacops Adventure Recensione: Un platform per veri nostalgici

Nel panorama indie in continua evoluzione, spicca all’orizzonte un titolo che sembra voler abbracciare con entusiasmo…

Switch 2 è riprogettata da zero

Nintendo risponde alle critiche: Switch 2 è una vera evoluzione, non solo un aggiornamento

Nintendo ha finalmente risposto ufficialmente alle osservazioni emerse nelle ultime settimane, secondo cui Nintendo Switch 2…

Novità in arrivo per The First Beseker Khazan

The First Beseker Khazan accoglie due modalità Boss Rush e nuove funzionalità

Nexon e Neople hanno ufficializzato un importante aggiornamento per The First Berserker: Khazan, fissato per il…

Come vincere nell'Arena Oscura in Clair Obscure Expedition 33

Clair Obscure Expedition 33: Guida all’Arena Oscura dei Gestral

Tra i contenuti più segreti e sfidanti del gioco si nasconde l’Arena Oscura dei Gestral, accessibile…

Recensione e Gameplay per Empyreal

Empyreal Recensione: Il Soulslike spaziale di Silent Games

Empyreal, sviluppato da Silent Games e pubblicato da Secret Mode, si presenta come uno dei progetti…

GEX Trilogy annunciato con tante migliorie

GEX sta tornando con la Trilogia

Il mitico gecko Gex è pronto a riconquistare i riflettori. Dopo anni di assenza dalle scene…

Mini Stagione a tema I Simpsons su Fortnite

Fortnite: Mini Stagione sui Simpsons in arrivo?

Fortnite è oggi nel pieno della Galactic Battle, il più grande evento crossover mai realizzato con…

Guida all'area dei corvi in Clair Obscur Expedition 33

Clair Obscur Expedition 33: Guida all’area segreta dei Corvi

L’area segreta dei Corvi rappresenta uno dei contenuti extra più interessanti e nascosti di Clair Obscur:…

Recensione e Gameplay per Spirit of the North 2

Spirit of the North 2 Recensione: Il sequel che conquista

Spirit of the North 2 è il sequel di uno dei giochi indie più affascinanti degli…

Le armi nel Trailer 2 di GTA 6

GTA 6: Tutte le Armi del secondo Trailer

Con l’arrivo del secondo trailer ufficiale e diversi filmati estesi, Grand Theft Auto 6 ha cominciato…

Soluzione dell'enigma della stanza degli oggetti smarriti in Blue Prince

Blue Prince: Come risolvere l ‘enigma della Stanza degli Oggetti Smarriti

Blue Prince è un roguelike atipico e profondo, ricco di enigmi, percorsi segreti e stanze misteriose.…

Game Chat monitorata da Nintendo su Switch 2

Nintendo monitorerà la GameChat per garantire la sicurezza

Con l’ultimo aggiornamento dell’informativa sulla privacy, Nintendo ha introdotto una nuova clausola che potrebbe far discutere.…

Recensione e Gameplay per Starship Troopers Continuum

Starship Troopers Continuum Recensione: Il ritorno dei Marine spaziali

Starship Troopers: Continuum potrebbe sembrare, a prima vista, un semplice sparatutto arcade con grafica stilizzata. In…

Nuovi giochi Xbox Game Pass

Xbox Game Pass: Tutti i giochi di maggio 2025

Il mese di maggio 2025 si apre con una valanga di nuovi titoli su Xbox Game…